Veuillez sélectionner votre lieu de livraison

Le choix du site pays peut avoir un effet sur différents facteurs tels que le prix, les options de livraison et la disponibilité des produits.
My contact person
igus® Canada

180 Bass Pro Mills Drive

Concord

Ontario L4K 0G9

+1 (800) 965-2496
+1 905 760-8688
CA(FR)

e-skin flat : détails techniques

Ls système de guidage des câbles plat e-skin flat est composé de compartiments à câbles pouvant être reliés les uns aux autres. Ces compartiments peuvent accueillir un ou plusieurs câbles. 
 
e-skin flat existe en trois variantes : 
  • Variantes fermées :
    • SKF12C [hauteur interne = 12 mm]
    • SKF15C [hauteur interne = 15 mm]
  • Variantes ouvrables (les compartiments peuvent être ouverts et fermés par un système à fermeture à glissière) 
    • SKF12O [hauteur interne = 12 mm]
Plus d'informations sur e-skin flat
 
Configurer e-skin flat

Dimensions

  • A = 37,5 mm
  • B = 100 mm
  • R = 40 à 100 mm
  • S = 3000 m maximum
  • H = à partir de 80 mm
  • Lk = S/2 + K
  • K = 3,14 x R (plus grand rayon de courbure des câbles guidés) + 2 x 100 mm + 2 x 37,5 mm
Dimensions e-skin flat

Principes de conception


 

Conception des différentes variantes

Principe de conception e-skin® flat

Variantes ouvrables

La SKF12O permet un échange des câbles en quelques minutes.
Principe de conception e-skin® flat

Variantes fermées

Protection contre les particules avec des compartiments à câbles fermés sur la SKF12C/SKF15C.

Principe de conception e-skin® flat

Variante fermée s'ouvrant

L'illustration montre deux profilés reliés l'un à l'autre, à gauche ouvert, à droite fermé.

Options de remplissage

Option de remplissage e-skin® flat

2 à 6 compartiments

Avec 1, 2 ou 3 câbles identiques par compartiment

Règles de remplissage
 

1Règle :
  • SKF12C : [A] hauteur interne = 12 mm | [B] hauteur externe = 13 mm ➔ diamètre des câbles de 10 mm
  • SKF15C :  [A] hauteur interne = 15 mm | [B] hauteur externe = 16 mm ➔ diamètre des câbles de 13 mm
2Règle :
  • SKF12O : [A] hauteur interne = 12 mm | [B] hauteur externe = 13 mm ➔ diamètre des câbles de 10 mm
3Règle :
  • Compartiment avec chaîne de renfort intégrée SKF.S pour donner une longueur autoportante à la SKF12C et éviter l'abrasion
Règles de remplissage e-skin flat
Règles de remplissage e-skin flat

SKF12O et SKF12C

1

Si les câbles ont une section de 10 mm, mettre un seul câble par compartiment

2

Si les câbles ont une section de 6,5 mm, mettre deux câbles maximum par compartiment

3

Si les câbles ont une section de 4 mm, mettre trois câbles maximum par compartiment

Règles de remplissage e-skin flat

SKF15C

1

Si les câbles ont une section de 13 mm, mettre un seul câble par compartiment

2

Si les câbles ont une section de 8 mm, mettre deux câbles maximum par compartiment

3

Si les câbles ont une section de 6 mm, mettre deux câbles maximum par compartiment

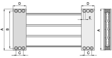
Eléments de fixation

Eléments de fixation e-skin flat
A = 68,5 à 148,5 mm
B = 53 à 157 mm
C = 18 mm
D = 37,5 mm
Nombre de compartiments SKF12O.1.1.10Largeur éléments de fixation [mm]Nombre de compartiments SKF12C.1.1.10Largeur éléments de fixation [mm]Nombre de compartiments SKF15C.1.1.10Largeur éléments de fixation [mm]
2
68,5
0
68,5
2
68,5
0
62,5
2
62,5
3
93
1
87
2
87
4
117,5
2
111,5
2
111,5
5
166,5
3
136
2
136
6
166,5
4
160,5
2
160,5
  
3
93
0
93
  
4
117,5
0
117,5
  
5
142
0
142
  
6
166,5
0
166,5
  
0
84
3
84
  
0
105,5
4
105,5
  
0
127
5
127
  
0
148,5
6
148,5
  
th>G [mm]
Référence jeu completA [mm]B [mm]C [mm]D
[mm]
E [mm]F [mm]G
[mm]
SKFC.MR.062562,55318,7537,54,597
SKFC.MR.068568,55918,7537,54,597
SKFC.MR.08408474,518,7537,54,597
SKFC.MR.08708777,518,7537,54,597
SKFC.MR.09309383,518,7537,54,597
SKFC.MR.1055105,59618,7537,54,597
SKFC.MR.1115111,510218,7537,54,597
SKFC.MR.1175117,510818,7537,54,597
SKFC.MR.1270127117,518,7537,54,597
SKFC.MR.1360136126,518,7537,54,597
SKFC.MR.1420142132,518,7537,54,597
SKFC.MR.1485148,513918,7537,54,597
SKFC.MR.1605160,515118,7537,54,597
SKFC.MR.1665166,515718,7537,54,597

Consignes de montage


 
Chaîne porte-câbles ultra plate e-skin® flat Sur la version ouvrable, les profilés peuvent être ouverts séparément.
Chaîne porte-câbles ultra plate e-skin® flat Les câbles peuvent être disposés comme vous le souhaitez. Nous attirons toutefois votre attention sur le fait que seuls des câbles de même section peuvent être posés dans un compartiment.
Chaîne porte-câbles ultra plate e-skin® flat

La chaîne e-skin flat peut être refermée à la main ou avec l'outil MT.SK.914.868 une fois remplie.

Chaîne porte-câbles ultra plate e-skin® flat

Des profilés peuvent être rajoutés lorsque l'application a besoin de plus de compartiments.

Chaîne porte-câbles ultra plate e-skin® flat

L'extrémité plus fine du profilé est juste bloquée par les éléments de fixation vissés, ce qui enlève tout effort de traction sur les câbles.



The terms "igus", "Apiro", "chainflex", "CFRIP", "conprotect", "CTD", "drylin", "dry-tech", "dryspin", "easy chain", "e-chain", "e-chain systems", "e-ketten", "e-kettensysteme", "e-skin", "e-spool", "flizz", "ibow", "igear", "iglidur", "igubal", "kineKIT", "manus", "motion plastics", "pikchain", "plastics for longer life", "readychain", "readycable", "ReBeL", "speedigus", "triflex", "robolink", "xirodur", and "xiros" are legally protected trademarks of the igus® SE & Co. KG/ Cologne in the Federal Republic of Germany and where applicable in some foreign countries.

igus® SE & Co. KG points out that it does not sell any products of the companies Allen Bradley, B&R, Baumüller, Beckhoff, Lahr, Control Techniques, Danaher Motion, ELAU, FAGOR, FANUC, Festo, Heidenhain, Jetter, Lenze, LinMot, LTi DRiVES, Mitsibushi, NUM,Parker, Bosch Rexroth, SEW, Siemens, Stöber and all other drive manufacturers mention in this website. The products offered by igus® are those of igus® SE & Co. KG