Veuillez sélectionner votre lieu de livraison

Le choix du site pays peut avoir un effet sur différents facteurs tels que le prix, les options de livraison et la disponibilité des produits.
My contact person
igus® Canada

180 Bass Pro Mills Drive

Concord

Ontario L4K 0G9

+1 (800) 965-2496
+1 905 760-8688
CA(FR)

Applications en autoportance sur courses courtes

Qu'entend-on par longueur autoportante ?

On parle d’application en autoportance lorsque le brin supérieur de la chaîne porte-câbles ne touche pas le brin inférieur sur toute la course.La longueur autoportante FLG est la distance entre le point mobile et le début de la courbure du rayon de la chaîne porte-câbles sur laquelle le brin supérieur de la chaîne ne présente pas d'affaissement notable. C'est comme cela que la chaîne porte-câbles offre la durée de vie maximale. L'application en autoportance est le mode d'utilisation le plus fréquent des chaînes porte-câbles.
Chaînes porte-câbles autoportantes
Le type de construction à longueur autoportante FLG offre toujours la durée de vie la plus longue et permet un service avec la vitesse et l'accélération maximales.

La longueur autoportante a trois niveaux :

1

Longueur autoportante, sans flèche FLG:
La chaîne porte-câbles est précontrainte ou droite.
 

2

Longueur autoportante, avec flèche FLB :
La chaîne porte-câbles à une flèche de plus d'une demi-hauteur de chaîne porte-câbles.
 

3

Flèche critique :
La flèche est supérieure à la valeur admise pour FLB. Il convient d’éviter tout montage se soldant par une flèche critique.

Chaînes porte-câbles autoportantes

Vérifier les valeurs indicatives pour la longueur autoportante à l'aide d'un diagramme de charge

Les valeurs du diagramme de charge sont importantes pour pouvoir trouver une chaîne adaptée à votre charge supplémentaire et à votre course et déterminer la charge maximale de la chaîne choisie.

La courbe noire dans le diagramme de charge montre la zone de longueur autoportante FLG dans laquelle la chaîne porte-câbles n'a pas de flèche. Dès que la course ou le poids des câbles augmente, la chaîne porte-câbles commence à s'affaisser FLB (courbe gris clair).
 Axe YAxe XS
 Charge supplémentaire [kg/m]Longueur autoportante [m]Course [m]
Exemple de lecture A :1,5 kg/m2,0 m4,0 m
Diagramme de charge chaîne porte-câbles Vous trouverez les diagrammes de charge à la page produit correspondante.

Séries préconisées pour les applications en autoportance


Que faire si la longueur autoportante est insuffisante ?

Si votre application (charge supplémentaire, course) se trouve en dehors de la plage de longueur autoportante de la chaîne choisie, vous avez les possibilités suivantes : 
  • Choisir une chaîne porte-câbles plus robuste
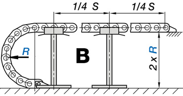
  • Apporter un support à la chaîne dans la zone autoportante. Celui-ci a des conséquences en termes d’accélération, de vitesse et de bruit. Les figures ci-dessous illustrent trois solutions exemplaires. Il est impératif que vous nous consultiez si vous envisagez cette possibilité. Nous vous présenterons alors une proposition détaillée
  • Faire appel à une chaîne à plusieurs bandes ou emboîter deux chaînes l’une dans l’autre. (Veuillez nous consulter)
  • Concevoir la course comme application glissante
Supports dans le domaine autoportant FLG et FLB
Chaînes porte-câbles autoportantes A : la course totale en autoportance peut être augmentée de 50 % maximum de FLG.
Chaînes porte-câbles autoportantes B : la course totale en autoportance peut être augmentée de 100 % maximum de FLG.
Chaînes porte-câbles autoportantes C : la course totale en autoportance peut être augmentée de 100 % maximum de FLB .

Influence de la vitesse de déplacement et de l'accélération sur la durée de vie

Sur les applications en autoportance, l’accélération (a) représente la valeur critique, plus que la vitesse de déplacement (v). Les fortes accélérations peuvent provoquer des vibrations de la chaîne et porter préjudice à sa durée de vie. Cela se produit notamment lorsque les chaînes présentent déjà une flèche supérieure à FLG. Seules les chaînes construites en autoportance sans flèche FLG atteignent les valeurs maximales de vitesse (v), d’accélération (a) et de durée de vie.
Ainsi conçus, les systèmes de chaînes porte-câbles igus® présentent une très haute résistance aux sollicitations. C’est ainsi qu’une accélération maximum de 784 m/s2 a été atteinte jusqu’ici en fonctionnement continu.
Valeurs indicatives pour la vitesse et l’accélération maximales en autoportance
  FLGFLB
v maxi[m/s]203
v de pointe[m/s]50-
a maxi[m/s2]2006
a de pointe[m/s2]784-
Valeurs indicatives standard de durée de vie en FLG 10 millions de cycles

Séries préconisées pour une vitesse et une accélération maximales


Boutique en ligne chaînes porte-câbles Choisir une chaîne porte-câbles adaptée à votre application dans la boutique en ligne.
Chaînes porte-câbles Configuration rapide et simple d'un guidage de l'énergie complet avec le configurateur de chaînes porte-câbles.
Informations chaînes porte-câbles Informations sur les bases et les calculs, règles de remplissage, etc.


The terms "igus", "Apiro", "chainflex", "CFRIP", "conprotect", "CTD", "drylin", "dry-tech", "dryspin", "easy chain", "e-chain", "e-chain systems", "e-ketten", "e-kettensysteme", "e-skin", "e-spool", "flizz", "ibow", "igear", "iglidur", "igubal", "kineKIT", "manus", "motion plastics", "pikchain", "plastics for longer life", "readychain", "readycable", "ReBeL", "speedigus", "triflex", "robolink", "xirodur", and "xiros" are legally protected trademarks of the igus® SE & Co. KG/ Cologne in the Federal Republic of Germany and where applicable in some foreign countries.

igus® SE & Co. KG points out that it does not sell any products of the companies Allen Bradley, B&R, Baumüller, Beckhoff, Lahr, Control Techniques, Danaher Motion, ELAU, FAGOR, FANUC, Festo, Heidenhain, Jetter, Lenze, LinMot, LTi DRiVES, Mitsibushi, NUM,Parker, Bosch Rexroth, SEW, Siemens, Stöber and all other drive manufacturers mention in this website. The products offered by igus® are those of igus® SE & Co. KG