Veuillez sélectionner votre lieu de livraison

Le choix du site pays peut avoir un effet sur différents facteurs tels que le prix, les options de livraison et la disponibilité des produits.
My contact person
igus® Canada

180 Bass Pro Mills Drive

Concord

Ontario L4K 0G9

+1 (800) 965-2496
+1 905 760-8688
CA(FR)

Calcul de la longueur de chaîne et de la prétension

Mode de calcul de la longueur des chaînes porte-câbles pour les mouvements linéaires

C'est le point fixe de la chaîne porte-câbles, c'est-à-dire la position de son raccordement fixe, qui est déterminé en premier. Nous recommandons de placer le point fixe en milieu de course. C'est la solution la plus économique car elle exige moins de longueur de chaîne et, dans la plupart des cas, aussi moins de longueur de câble. Il est également possible de décaler le point fixe par rapport au milieu de la course. Le calcul de la longueur de la chaîne se fait de la manière suivante.

Placer le point fixe en milieu de course
est toujours la meilleure solution

Pour les applications en autoportance

Sur les applications en autoportance, le brin supérieur de la chaîne porte-câbles se déplace parallèlement au brin inférieur sur toute la course horizontale.


Point fixe en milieu de course

Calcul de la longueur de la chaîne

Lk = S/2 + K

AbréviationsSignificationUnité
LkLongueur de la chaîne porte-câbles[mm]
S/2Demi-course[mm]
KSupplément pour le rayon de courbure lors du calcul de la longueur de la chaîne[mm]
RRayon de courbure[mm]

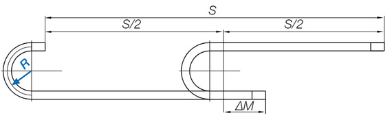
Point fixe décentré sur la course

Calcul de la longueur de la chaîne

Lk = S/2 + ∆M +K

AbréviationsSignificationUnité
LkLongueur de la chaîne porte-câbles[mm]
S/2Demi-course[mm]
KSupplément pour le rayon de courbure lors du calcul de la longueur de la chaîne[mm]
∆MDéviation par rapport au milieu[mm]
RRayon de courbure[mm]

Pour les applications glissantes

Sur les applications en glissement, une moitié de la chaîne porte-câbles glisse sur le brin inférieur et l'autre moitié sur une bande de glissement.

Calcul de la longueur de la chaîne A = point mobile
B = point fixe
C = goulotte de guidage avec bandes de glissement
D = goulotte de guidage sans bandes de glissement
E = longueur totale de la goulotte de guidage

Lk = S/2 + K2

AbréviationsSignificationUnité
LkLongueur de la chaîne porte-câbles[mm]
S/2Demi-course[mm]
K2Supplément pour le rayon de courbure si le point de raccordement est rabaissé[mm]
∆CLPoint fixe décalé[mm]
RRayon de courbure[mm]
D2Porte-à-faux sur les courses longues glissantes[mm]
H2Hauteur de montage avec point mobile rabaissé[mm]
HRiHauteur interne de la goulotte de guidage[mm]

Prétension

La prétension est la surélévation du brin supérieur dans la zone de la longueur autoportante. Sans prétension, le brin supérieur en autoportance s'affaisserait sous le poids des câbles et des tuyaux qu'il renferme. A partir d'un affaissement critique, le fonctionnement fiable de la chaîne porte-câbles ne serait plus garanti. C'est la raison pour laquelle igus fabrique toutes les chaînes avec une prétension.
Avantages de la précontrainte :
  • Plus grande longueur autoportante
  • Durée de vie et fiabilité accrues
Nous livrons également des Chaînes spéciales "NC" "sans prétension". Appelez-nous !

La hauteur de construction requise dépend de la prétension de la chaîne. Vous trouverez cette hauteur "HF" à la page du produit choisi.
prétension Principe de la prétension sur les Chaînes igus® HF = espace de construction nécessaire

Configurateur de chaînes porte-câbles

Le « système d'expertise chaînes porte-câbles » vous permet de concevoir en quelques opérations seulement un système de chaînes porte-câbles sur mesure prêt à raccorder. 
  • Configuration simple et rapide en ligne
  • Affichage du prix, de la durée de vie et du délai de livraison
  • Partage de l'avancement des travaux avec d'autres personnes
Configurer des chaînes porte-câbles maintenant


The terms "igus", "Apiro", "chainflex", "CFRIP", "conprotect", "CTD", "drylin", "dry-tech", "dryspin", "easy chain", "e-chain", "e-chain systems", "e-ketten", "e-kettensysteme", "e-skin", "e-spool", "flizz", "ibow", "igear", "iglidur", "igubal", "kineKIT", "manus", "motion plastics", "pikchain", "plastics for longer life", "readychain", "readycable", "ReBeL", "speedigus", "triflex", "robolink", "xirodur", and "xiros" are legally protected trademarks of the igus® SE & Co. KG/ Cologne in the Federal Republic of Germany and where applicable in some foreign countries.

igus® SE & Co. KG points out that it does not sell any products of the companies Allen Bradley, B&R, Baumüller, Beckhoff, Lahr, Control Techniques, Danaher Motion, ELAU, FAGOR, FANUC, Festo, Heidenhain, Jetter, Lenze, LinMot, LTi DRiVES, Mitsibushi, NUM,Parker, Bosch Rexroth, SEW, Siemens, Stöber and all other drive manufacturers mention in this website. The products offered by igus® are those of igus® SE & Co. KG